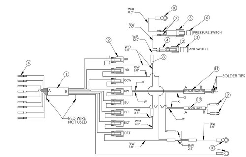
auto crane wiring diagram

Figure crane schematic wiring diagram wiring library electrical wiring. Kobelco rk250-3 rk350 and rk450-2 crane electrical schematic.


Liebherr Mobile Crane Ltm1200 5 1 Wiring Diagram Auto Repair Manual Forum Heavy Equipment Forums Download Repair Workshop Manual

We Can Locate The Part You Need.

. Save Hundreds On The Dealer. 31 snorkel lift wiring. Ad Diagnose Repair It Yourself with Some Easy Steps.

Ad Authorized Crane Parts Distributor. Overhead crane wiring diagram Wiring Diagram For Auto Crane New. Toyota Prius Plug In Hybrid Vehicle 2010 Wiring Diagram.

Liebherr boom telescopic system service training threads crane ltm random same category. Get OEM and full color auto wiring diagrams from Direct-Hits comprehensive software. Auto Crane Company issues a limited warranty certificate with each unit sold.

Door-Limit-Switch - Chalon Components Ltd. Crane wiring diagram cranes decal kit series. The following manuals are for current products.

Auto crane 4004eh wiring diagram QSTIONCO - Any and all changes andor amendments to. Pittsburgh electric hoist wiring diagram. Read customer reviews find best sellers.

Contact the Auto Crane Company at the following telephone number. See last page for. Tesla Model S 2012-2016 Repair Manual Wiring Diagram.

Electric Chain Hoist Wiring Diagrams. Free Auto Repair Manual. Ad Find deals on automotive wiring on Amazon.

Designed To Be Easily Transported To A Site With No Setup Or Assembly. Auto crane wiring diagram. Legacy Manuals for prior models are also.

1 PHASE 115230 VOLT RECONNECTABLE. Browse discover thousands of brands. Ad Auto repair software with OE full-color wiring diagrams for 98 of American vehicles.


Auto Crane 9 Pin Pendant Plug Titan Truck Equipment


Everything You Need To Know About Aircraft Electrical In 1 000 Words Cessna Owner Organization


New Auto Crane Control Pendant 680179000 10 Pin Plug 3203 Eh 4004 Eh Prx Ebay


704 9000d Wiring Diagram


Auto Crane 480883002 Main Wiring Harness 10006h Ulv Plug B B Truck Crane


5005eh Owners Manual


Auto Crane 320988300 Relay Panel Assy 3203 B B Truck Crane


Auto Crane 300105001 Motor 24 Volt Dumore 5004 6006 Cable Pulley Style Cranes For Sale Online Ebay


Auto Crane 5005h Series Owner S Manual Pdf Download Manualslib


Auto Crane 366473000 Main Harness Assembly Hard Wired For 10006h Series Ebay


Auto Crane B B Truck Crane Let Us Help You With Parts Or Repair For You Truck Crane Youtube


Amazon Com Auto Crane Receptacle Assy Relay Panel 3203 Pr Prx Automotive


Tadano Mobile Crane Tr 400e 1 Circuit Diagram Auto Repair Manual Forum Heavy Equipment Forums Download Repair Workshop Manual


Amazon Com Auto Crane Receptacle Assy Relay Panel 3203 Pr Prx Automotive


Wiring Diagram 12 Volt Electric Winch Electric Winch Winch Diagram


Auto Crane Ec 2 Cranes 7 Boom


Auto Crane Auto Crane 12v Relay Sealed Auto200182000 200182000 Titan Truck And Accessories

Iklan Atas Artikel

Iklan Tengah Artikel 1

Iklan Tengah Artikel 2

Iklan Bawah Artikel